矿井提升机径向液压弹簧闸技术改造(中)(图文)

时间:2024-04-23 08:09:21  点击数:


2.2 具体方案
(1)受力平衡 保留旧制动系统受力平衡的优点。方法是:使提升机制动梁、基座和原闸系之间的距离满足一定的关系。

(2)闸基座 保留原闸基座及地脚螺栓,不仅可以保证受力平衡,还可以减少安装工作量,缩短工期。

(3)综合闸 早期国产的 JKA 型提升机,旧角移式闸瓦存在磨损不均问题,其制动系统的改造采用综合闸(见图 1),以减少闸瓦磨损,延长闸瓦使用寿命。
 

图1 JKA 系列提升机制动系统示意

(4)提高使用可靠性 改造后的闸系结构中,液压元件应尽量远离闸面,以减少或消除液压油污染闸面的概率。方法是:保留二级杠杆传动,使径向液压弹簧闸更便于参与工作制动,提高制动器的使用可靠性。

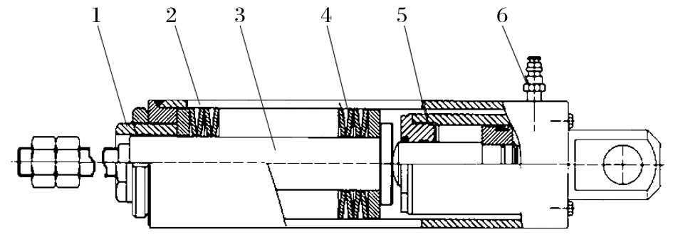
(5)驱动器结构集成化 改造时采用碟形弹簧串联结构(见图 2)。碟簧串和千斤顶置于一个套筒内,液压弹簧驱动器成为一个整体结构(相当于盘式闸的闸头)。该结构更加简单,便于安装、调试与维护,易于实现标准化、集成化、系列化。
 
图2 液压弹簧驱动器结构示意
1.螺纹内套筒 2.外套筒 3.驱动器拉杆 4.碟形弹簧 5.千斤顶 6.管接头

(6)动态监控 在驱动器套筒两侧开有窗口,便于司机或工作人员随时监控和调整,提高制动系统的使用可靠性。

(7)底拉杆 利用图解法分别求解原角移式闸系和改造后的径向液压弹簧闸系的受力情况,分析后发现径向液压弹簧闸支座反力的水平分力大于原角移式闸。为克服这一现象,改造时在两侧闸梁底座销轴之间增加了可调的水平底拉杆(见图 3),以减小水平分力。
 
图3 径向液压弹簧闸底拉杆示意



Baidu
xk星空体育app